Book Errata
Parametric Modeling with Autodesk Inventor 2023
Published August 22, 2022
624 Pages
ISBN: 978-1-63057-506-9
- View Errata
- Submit Errata
Errata
- Chapter 3 Page 3
Step 4. The image should show the whole rectangle with dimensions of 50x75. See the image below.
- Chapter 3 Page 13
-
Step 2. Should say: "In the Edit Dimension window, the current length of the line is displayed. Enter 50 to set the selected length of the sketch to 50 millimeters."
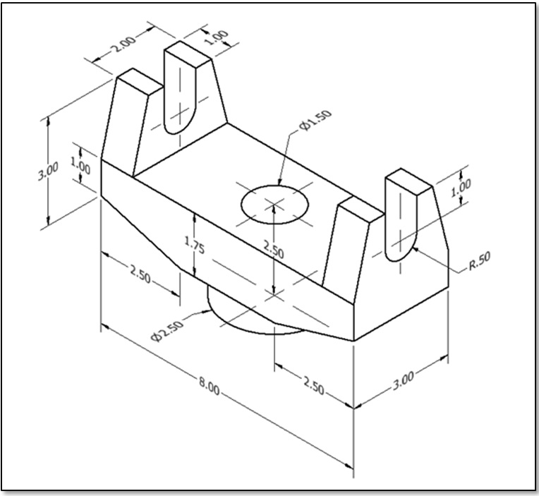
- Chapter 7 Page 32
1. Swivel Yoke. The diameter of the round base is shown as 3" in the book. It should be a diameter of 2.5". Please use the updated image below.
- Chapter 14 Page 6
2. Bearing Exercise, the image in the book should show the dimension listed for the C-Bore for the bolts as 1/8. Please use the updated image below.
Submit Errata
Your information will remain private. We will only use your information if we need to contact you for further details regarding the correction you submit.


